Kontakt

Akustikpaneel Mikro 2,7mm 0,5 mm

Materialien

MDF furniert in allen Furnierarten
MDF durchgefärbt in den Farben MDF schwarz, grau, athrazith, minzgrün, gelb
MDF lackiert in allen RAL und NCS Farbtönen
Melaminbeschichtet 0,3mm in den meisten erhältlichen Dekoren
Diverse Holzimitate oder Schichtstoffe

Brandschutz

Ausführung in MDF b2, MDF b1, B-s1 Do nach Euroklasse 13501 als auch A2

Absorberklasse A – AUFBAU E-200 + Mineralwolle

Bewerteter Schallabsorptionsgrad αw 0,90 (MH)
Absorberklasse A

A - SA feinmikro 2,7mm Bohrabstand / 0,5mm Durchmesser
B - Tragrahmen 22x34mm
C - 28mm MDF-Rahmen
D - Hallraumboden
E - Terostat Dichtung / Dichtlippe
F - einstellbare Hohlraumbodenfüße 110mm
G - Glaswolle, Dicke 40mm (34mm)
H - Estrichmatte

Absorberklasse A – AUFBAU E-50 + Mineralwolle

Bewerteter Schallabsorptionsgrad αw 0,65 (MH)
Absorberklasse A

A - SA feinmikro 2,7mm Bohrabstand / 0,5mm Durchmesser
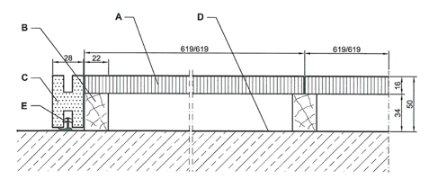
B - Glaswolle, Dicke 40mm (34mm)
C - 28mm MDF-Rahmen
D - Hallraumboden
E - Terostat Dichtung / Dichtlippe

Absorberklasse B – AUFBAU E-200

Bewerteter Schallabsorptionsgrad αw 0,85 (MH)
Absorberklasse B

A - SA feinmikro 2,7mm Bohrabstand / 0,5mm Durchmesser
B - Tragrahmen 22x34mm
C - 28mm MDF-Rahmen
D - Hallraumboden
E - Terostat Dichtung / Dichtlippe
F - einstellbare Hohlraumbodenfüße 150mm

Absorberklasse B – AUFBAU E-400

Bewerteter Schallabsorptionsgrad αw 0,80 (MH)
Absorberklasse B

A - SA feinmikro 2,7mm Bohrabstand / 0,5mm Durchmesser
B - Tragrahmen 22x34mm
C - 28mm MDF-Rahmen
D - Hallraumboden
E - Terostat Dichtung / Dichtlippe
F - einstellbare Hohlraumbodenfüße 350mm

Absorberklasse C – AUFBAU E-100

Bewerteter Schallabsorptionsgrad αw 0,75 (MH)
Absorberklasse C

A - SA feinmikro 2,7mm Bohrabstand / 0,5mm Durchmesser
B - Tragrahmen 22x84mm
C - 28mm MDF-Rahmen
D - Hallraumboden
E - Terostat Dichtung / Dichtlippe
F - einstellbare Hohlraumbodenfüße

Absorberklasse C – AUFBAU E-50

Bewerteter Schallabsorptionsgrad αw 0,65 (MH)
Absorberklasse C

A - SA feinmikro 2,7mm Bohrabstand / 0,5mm Durchmesser
B - Tragrahmen 22x34mm
C - 28mm MDF-Rahmen
D - Hallraumboden
E - Terostat Dichtung / Dichtlippe

Absorberklasse E – Am Boden liegend

Bewerteter Schallabsorptionsgrad αw 0,25 (MH)
Absorberklasse E

AUFBAU auf dem Boden liegend
A - SA feinmikro 2,7mm Bohrabstand / 0,5mm Durchmesser
B - Tragrahmen 20x40mm
C - Hallraumboden
D - Terostat Dichtung / Dichtlippe

Akustikpaneel Mikro 2,7mm 1,2 mm

Materialien

MDF furniert in allen Furnierarten
MDF durchgefärbt in den Farben MDF schwarz, grau, athrazith, minzgrün, gelb
MDF lackiert in allen RAL und NCS Farbtönen
Melaminbeschichtet 0,3mm in den meisten erhältlichen Dekoren
Diverse Holzimitate oder Schichtstoffe.

Brandschutz

Ausführung in MDF b2, MDF b1, B-s1 D0 nach Euroklasse 13501 als auch A2.